2026强基计划招生简章发布还有2个月左右的时间,报名一般仅有20天,且强基限报1所,考生家长必须了解39校招生政策尽早规划。为此,今天为大家介绍—— 中国农业大学。
中国农业大学强基计划招生采用的高考成绩入围+单科成绩“小破格”入围模式,利好数学成绩突出考生。本文系统梳理中农大强基计划的招生专业、选拔模式、培养特色与强基转段等信息,助力考生家长高效备考,欢迎大家关注+转发!
中国农业大学,简称中国农大,坐落于北京市,是教育部直属,中华人民共和国水利部、中华人民共和国农业农村部和北京市共建的一所全国重点大学,位列“双一流”“985工程”“211工程”建设高校。
中国农业大学拥有15位两院院士,国家级人才252人,博士生导师1274人、硕士生导师493人,综合师资力量位居全国第18位。根据教育部第四轮学科评估结果显示,中国农业大学拥有农业工程、食品科学与工程、兽医学、畜牧学、草学和作物学等6个A+学科,整体学科实力位居全国第十名。
在2026QS世界大学排名中国农业大学排名504,在最新的2025软科世界一流学科排名,中国内地高校表现中,共有22个学科上榜,排名第25。
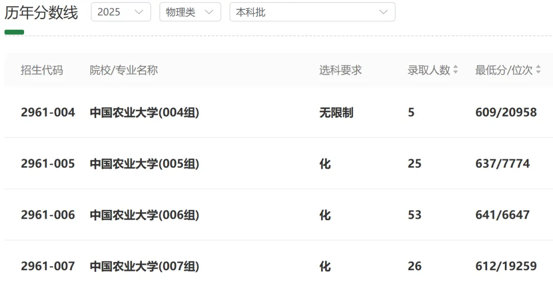
注:以下来自2025年中国农业大学强基计划招生简章,实际情况请以高校最新公布政策为准。
符合高考报名条件,综合素质优秀或基础学科拔尖,并有志于从事相关领域科学技术工作的高中毕业生均可申请报名。申请报名的考生分为以下两类:第二类:相关学科领域具有突出才能和表现的考生。该类考生须在全国中学生学科奥林匹克竞赛全国决赛中获得数学、物理、化学、生物、信息学二等奖及以上。✅中国农大强基计划招生2个专业:生物科学、生物育种科学。非高考综合改革省份招收理工类考生;高考综合改革省份选考科目要求为物理、化学。
✅中国农大强基计划招生省份:北京、天津、河北、山西、内蒙古、辽宁、吉林、黑龙江、江苏、浙江、安徽、福建、江西、山东、河南、湖北、湖南、广东、广西、重庆、四川、贵州、云南、陕西、甘肃、新疆共26个省市。
中国农业大学强基计划采用高考成绩入围、单科“小破格”入围和竞赛金银牌破格入围模式,同时须高考成绩达到所在省市特招线。
✅高考成绩入围模式:依据高考成绩从高到低排序,按分省招生计划数的4倍确定各省入围校考名单(末位同分考生全投)。
✅高考单科“小破格”入围模式:未能通过高考成绩入围的第一类考生,如高考数学科目成绩达到145分及以上,且高考成绩进入分省招生计划数6倍以内的考生,可破格入围。
✅竞赛金银牌破格入围模式:获得五大学科竞赛金银牌考生可破格入围学校考核。
✅中国农业大学2025年强基计划各省第一类考生最低入围分数线分别为:
✅通常来说,强基入围分数线会低于高考统招分数线5-35分不等,小编为大家汇总整理了中国农业大学2025安徽省高考最低投档分数线,供各位考生家长对照参考。
报名考生需在规定时间(6月10日至20日)内登录中国农业大学强基计划报名平台,确认是否参加强基计划校考。未在规定时间内完成确认的考生视为自动放弃入围强基计划校考资格,高考成绩公布后不得参加校考。
中国农大强基校测考核包含笔试+面试+体测。
✅️笔试:主要考察考生生物、物理、化学等学科的基础知识、基础理论、基础能力。笔试满分为50分。
✅️面试:主要考察考生思想品德、综合素质、学科潜质、创新能力、科研志向等方面,考生综合素质档案作为面试参考材料。面试全程录音录像。面试满分为50分。
✅️面试流程:采用专家、考生 “双随机” 抽签的多对一面试模式。通常无自我介绍环节,5名面试官对1名学生,电脑随机排序,一位主考老师负责抽签。考生有一次换题机会,需回答两道题,一道综合题,一道专业题,答题时间10分钟。
✅️往年真题:
①如果你在最看重的一次高中考试中失利,你会如何面对?
②你的缺点是什么,会不会影响你报考中国农业大学的相关专业?
③你将如何在中国农业大学实现人生理想?
④做菜过程中,如果菜太咸怎么办?
⑤请谈谈食品安全问题是因为道德滑坡还是制度缺失?
⑥植物没有细胞壁会怎样?
⑦如何证明这个世界的存在?
⑧如果人类突然灭绝,你认为猴子是否可以进化成人类?
⑨请解释全球变暖现象及产生原因
⑩如果带3种作物种子到古代没有任何作物的地方,你会选择哪三种?
✅️体测:测试项目包括身高/体重(BMI)、肺活量、立定跳远、坐位体前屈。
综合成绩计算方法:
综合成绩=高考成绩(不含任何政策加分)×85%+校考成绩×(当地高考满分值/100)×15% 。校考成绩=笔试成绩+面试成绩
确定录取名单:
根据考生所在省市强基计划分专业招生计划,按综合成绩由高到低排序确定强基计划预录取名单。对于综合成绩相同的考生将
综合成绩同分优先录取规则:依次比较高考总成绩、语文、数学、外语、理科综合科目的成绩;高考综合改革省份以高中学业水平等级性考试中物理、化学、生物三科中最高成绩作为理科综合的成绩。同等情况下根据体育测试结果优先录取。
以下是中国农业大学2025年强基计划录取最低综合成绩,因中国农业大学录取分数是由高考成绩与校考成绩核算后的综合成绩,因此参考意义较少,考生家长适当了解即可。
强基计划学生采用本研衔接培养。打通本科培养和研究生培养,本科阶段可以提前修读研究生课程,同时进入实验室开展科研工作。研究生阶段既可在本学科深造、也可探索学科交叉培养;根据学生所选研究方向,达到毕业要求者获得相应学科学位。
设立专项资金,用于支持强基计划学生在读阶段开展自主科研创新项目、学科竞赛及社会实践等活动。设立专项奖学金,奖励优秀强基计划学生。强基计划学生研究生阶段优先推荐参与国家留学基金委博士生联合培养计划。
依托未来技术学院,对接国家产教融合创新平台、教育部前沿科学中心等国家级平台,为学生打造学科交叉、科教融汇、产教融合的育人高地。在全校范围内聘请院士、相关领域杰出人才组成“强基导师团”,从思想引领、专业指导、学术引导、答疑解惑等各方面给予强基计划学生全面指导。
✅2022级转段情况
中国农业大学2022级强基计划转段44人,转到生物学院27人,农学院14人。
中国农业大学强基计划入围适配数学学科成绩优异考;转段深造可在本学科深耕也可探索交叉学科培养,未来职业规划有考虑生物医药及农业科研等领域的的考生家长,中国农大强基计划是你又一个升入名校的机会!
志愿填报黄金指南:解锁未来,成就梦想之旅!】>¥ 7999 |
掌握高考最新动态,洞悉院校独家数据,让您的志愿填报之路畅通无阻,轻松迈向理想学府! 🎯 个性化蓝图定制:深度剖析家庭背景与个人特质,为您量身打造职业规划,精选心仪专业、理想院校及宜居地域,让每一步都迈向成功! 📈 精准策略填报:深度解读录取规则,运用科学方法,让您的每一分都发挥极致价值,精准触达心仪大学,开启璀璨未来! 🌈 全批次覆盖服务:从强基计划到专项招生,从提前批次到普通批次,我们提供一站式全方位服务,确保您的每一个机会都不被错过! 💼 特色就业保障志愿:特色带编岗位、订单班培养等,为您的职业生涯铺设坚实基石,毕业即就业,未来无忧! 🌈 考研保研全程陪跑 大学四年全程陪跑计划——助你成功保研! 💪 扫码备注“高考志愿”申请入群💪 
|
仅需1元快速注册查找院校、专业分数线!
输入考分,智能推荐能上的大学!